1. Products are designed and manufactured in accordance with advanced foreign standards, with reliable sealing and excellent performance;
2. Compact and reasonable structure design, beautiful appearance;
3. Wedge elastic gate structure, large diameter rolling bearing, easy to open and close;
4, valve body material variety, packing, gasket according to the actual conditions or customer requirements reasonable selection, can be applied to all kinds of pressure, temperature and medium conditions.
Design specification :API 6D, 600
Length of structure: ANSI B16.10
Connection flange: ANSI B16.5
Test and verification: API 598, API 6D
Pressure-temperature: ANSI B16.34
Nominal size: NPS 1/2"~32"
Nominal pressure: 150~2500Lb
Applicable temperature: ≤600℃
Main materials: WCB, WC1, WC6, WC9, etc
Suitable medium: water, steam, oil, nitric acid, acetic acid, urea
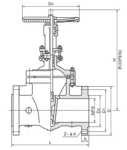
Main shape and connection dimensions
| Class | in | DN | Unit | L | H OPEN | D | Di | D2 | b | Z-фd | Do |
| 150 Lb | 2 | 50 | in | 7.00 | 16.10 | 6.00 | 4.75 | 3.62 | 0.75 | 4-0.75 | 8.00 |
| mm | 178 | 409 | 152 | 120.5 | 92 | 19.1 | 4-19 | 200 | |||
| 3 | 80 | in | 8.00 | 20.00 | 7.50 | 6.00 | 5.00 | 0.94 | 4-0.75 | 1.00 | |
| mm | 203 | 570 | 90 | 152.5 | 127 | 23.9 | 4-19 | 250 | |||
| 4 | 100 | in | 9.00 | 23.20 | 9.00 | 7.50 | 6.19 | 0.94 | 8-0.75 | 10.00 | |
| mm | 229 | 590 | 229 | 195.5 | 157 | 23.9 | 8-19 | 250 | |||
| 6 | 150 | in | 10.50 | 24.80 | 11.00 | 950 | 8.50 | 1.00 | 8-0.88 | 12.00 | |
| mm | 267 | 630 | 279 | 241.5 | 216 | 25.4 | 8-22 | 300 | |||
| 8 | 200 | in | 11.50 | 37.80 | 13.50 | 11.75 | 10.62 | 1212 | 8-0.88 | 3.88 | |
| mm | 292 | 960 | 343 | 298.5 | 270 | 28.5 | 8-22 | 350 | |||
| 10 | 250 | in | 13.00 | 45.60 | 16.00 | 14.25 | 12.75 | 119 | 12-1.00 | 15.70 | |
| mm | 330 | 1158 | 406 | 362 | 324 | 30.2 | 12-25 | 400 | |||
| 12 | 300 | in | 14.00 | 54.30 | 19.00 | 17.00 | 15.00 | 1.25 | 12-1.00 | 17.70 | |
| mm | 356 | 1378 | 483 | 432 | 381 | 31.8 | 12-25 | 450 | |||
| 14 | 350 | in | 15.00 | 60.75 | 21.00 | 18.75 | 16.25 | 1.38 | 12-1.12 | 19.70 | |
| mm | 381 | 1543 | 533 | 476.5 | 413 | 35 | 12-29 | 500 | |||
| 16 | 400 | in | 16.00 | 68.40 | 23.50 | 21.25 | 18.50 | 1.44 | 16-1.12 | 23.60 | |
| mm | 406 | 1738 | 597 | 539.5 | 470 | 36.6 | 16-29 | 600 | |||
| 18 | 450 | in | 17.00 | 74.10 | 25.00 | 22.75 | 21.00 | 1.56 | 16-1.25 | 23.60 | |
| mm | 432 | 1959 | 635 | 578 | 533 | 39.7 | 16-23 | 600 | |||
| 20 | 500 | in | 18.00 | 87.20 | 27.50 | 25.00 | 23.00 | 1.69 | 20-1.25 | 26.80 | |
| mm | 457 | 2214 | 698 | 635 | 584 | 42.9 | 20-32 | 680 | |||
| 24 | 600 | in | 20.00 | 102.3 | 32.00 | 29.50 | 27.25 | 1.88 | 20-1.38 | 29.90 | |
| mm | 508 | 2599 | 813 | 749.5 | 692 | 47.7 | 20-38 | 760 | |||
| 30 | 750 | in | 24.00 | 125.3 | 38.75 | 36.00 | 33.75 | 2.94 | 28-1.38 | 36.00 | |
| mm | 610 | 3183 | 985 | 914 | 857 | 74.5 | 28-35 | 915 | |||
| 36 | 900 | in | 28.00 | 147.00 | 46.00 | 42.75 | 40.25 | 3.56 | 32-1.62 | 36.00 | |
| mm | 711 | 3737 | 1170 | 1086 | 1022 | 90.5 | 32-41 | 915 |
| Class | in | DN | Unit | L | H OPEN | D | Di | D2 | b | Z-фd | Do |
| 300Lb | 2 | 50 | in | 8.50 | 16.70 | 6.5 | 5.00 | 3.62 | 0.88 | 8-0.75 | 8.0 |
| mm | 216 | 424 | 165 | 127 | 92 | 22.3 | 8-19 | 200 | |||
| 3 | 80 | in | 11.15 | 21.00 | 8.25 | 6.62 | 5.00 | 1.12 | 8-0.88 | 10 | |
| mm | 283 | 535 | 210 | 168 | 127 | 28.5 | 8-22 | 250 | |||
| 4 | 100 | in | 12.00 | 24.20 | 10.0 | 7.88 | 6.19 | 1.25 | 8-0.88 | 10 | |
| mm | 305 | 615 | 254 | 200 | 157 | 31.8 | 8-22 | 250 | |||
| 6 | 150 | in | 15.87 | 31.30 | 12.50 | 10.62 | 8.50 | 1.44 | 8-0.88 | 14 | |
| mm | 403 | 795 | 318 | 270 | 216 | 36.6 | 12-22 | 350 | |||
| 8 | 200 | in | 16.50 | 39.90 | 15.0 | 13.0 | 10.62 | 1.62 | 12-1.0 | 15.7 | |
| mm | 419 | 1012 | 381 | 330 | 270 | 41.3 | 12-25 | 400 | |||
| 10 | 250 | in | 18.00 | 48.50 | 17.50 | 15.25 | 12.75 | 1.88 | 16-1.12 | 17.7 | |
| mm | 457 | 1231 | 444 | 387.5 | 324 | 47.7 | 16-29 | 450 | |||
| 12 | 300 | in | 19.75 | 57.0 | 20.50 | 17.75 | 15.00 | 2.00 | 16-1.25 | 19.7 | |
| mm | 502 | 1450 | 521 | 451 | 381 | 50.8 | 16-32 | 500 | |||
| 14 | 350 | in | 30.00 | 64.8 | 23.00 | 20.25 | 16.25 | 2.12 | 20-1.25 | 23.6 | |
| mm | 762 | 1645 | 584 | 514.5 | 413 | 54.0 | 20-32 | 600 | |||
| 16 | 400 | in | 33.00 | 72.50 | 25.50 | 20.25 | 18.50 | 2.25 | 20-1.38 | 23.6 | |
| mm | 838 | 1814 | 648 | 571.5 | 470 | 57.2 | 20-35 | 600 | |||
| 18 | 450 | in | 36.00 | 76.50 | 28.00 | 24.75 | 21.00 | 2.38 | 24-1.38 | 26.8 | |
| mm | 914 | 1943 | 711 | 628.5 | 533 | 60.4 | 24-35 | 680 | |||
| 20 | 500 | in | 39.00 | 84.80 | 30.50 | 27.0 | 23.00 | 2.50 | 24-1.38 | 38 | |
| mm | 991 | 2154 | 775 | 686 | 584 | 63.5 | 24-35 | 760 | |||
| 24 | 600 | in | 45.00 | 100.50 | 36.0 | 32.0 | 27.25 | 2.75 | 24-1.62 | 36 | |
| mm | 1143 | 2553 | 914 | 813 | 692 | 69.9 | 24-41 | 915 |
| Class | in | DN | Unit | L | H OPEN | D | Di | D2 | b | Z-фd | Do |
| 600Lb | 2 | 50 | in | 11.50 | 18 | 6.5 | 5.00 | 3.62 | 1.0 | 8-0.75 | 10 |
| mm | 292 | 458 | 165 | 127 | 92 | 25.4 | 8-19 | 250 | |||
| 3 | 80 | in | 14.00 | 22.50 | 8.25 | 6.62 | 5.00 | 1.25 | 8-0.88 | 10 | |
| mm | 356 | 570 | 210 | 168 | 127 | 31.8 | 8-22 | 250 | |||
| 4 | 100 | in | 17.00 | 27.2 | 10.75 | 8.50 | 6.19 | 1.5 | 8-1.0 | 14 | |
| mm | 432 | 390 | 273 | 216 | 157 | 38.1 | 8-25 | 350 | |||
| 6 | 150 | in | 22 | 35.8 | 14 | 11.50 | 8.50 | 1.88 | 12-1.12 | 18 | |
| mm | 559 | 910 | 356 | 292 | 216 | 47.7 | 12-29 | 450 | |||
| 8 | 200 | in | 26.00 | 41.9 | 16.5 | 13.75 | 10.62 | 2.19 | 12-1.25 | 19.7 | |
| mm | 600 | 1064 | 419 | 349 | 270 | 55.6 | 12-32 | 500 | |||
| 10 | 250 | in | 31.00 | 49.5 | 20 | 17.00 | 12.75 | 2.5 | 16-1.38 | 23.6 | |
| mm | 787 | 1257 | 508 | 432 | 324 | 63.5 | 16-35 | 600 | |||
| 12 | 300 | in | 33 | 57.8 | 22 | 19.25 | 15.00 | 2.62 | 20-1.38 | 26.8 | |
| mm | 838 | 1468 | 559 | 489 | 381 | 66.7 | 20-35 | 680 | |||
| 14 | 350 | in | 35 | 63.9 | 23.75 | 20.75 | 16.25 | 2.75 | 20-1.50 | 26.9 | |
| mm | 889 | 1623 | 603 | 527 | 413 | 69.9 | 20-38 | 760 | |||
| 16 | 400 | in | 39 | 71.5 | 27 | 23.75 | 18.50 | 3.0 | 20-1.62 | 26.9 | |
| mm | 991 | 1816 | 686 | 603 | 470 | 76.2 | 20-41 | 760 | |||
| 18 | 450 | in | 43 | 82.7 | 29.25 | 25.75 | 21.00 | 3.25 | 20-10.75 | 36 | |
| mm | 1092 | 21.00 | 743 | 654 | 533 | 82.6 | 20-45 | 91.5 | |||
| 20 | 500 | in | 47 | 88.6 | 32 | 28.5 | 23.00 | 3.5 | 24-1.75 | 37.4 | |
| mm | 1194 | 2250 | 813 | 724 | 584 | 88.9 | 24-45 | 950 | |||
| 24 | 600 | in | 55 | 107.5 | 37 | 33.0 | 27.25 | 4.0 | 24-2.0 | 39.4 | |
| mm | 1397 | 2730 | 940 | 838 | 692 | 102 | 24-51 | 1000 |